一種深壓紋液壓機的可調等高塊,其特征在于:主要是由下鍥塊和上鍥塊組成,下鍥塊的鍥面和上鍥塊的鍥面互補首尾相連,且上鍥塊的下端面中部和下鍥塊的上端面中部通過滑槽相連接,下鍥塊的左端面安裝帶有螺母的螺桿與上鍥塊左端面螺紋孔連接,上鍥塊右端面安裝螺栓并頂住下鍥塊右端面,同時上鍥塊的右端面安裝帶有螺母的螺桿與下鍥塊右端面螺紋孔連接,下鍥塊左端面安裝螺栓并頂住上鍥塊右端面,通過調整下鍥塊的左端面安裝帶有螺母的螺桿,以及上鍥塊的右端面安裝帶有螺母的螺桿,可使上鍥塊的下斷面中部和下鍥塊的上斷面中部通過滑槽相對滑動,從而調節了調整塊的高度,最后用本裝置的兩端帶有螺母的螺桿上的螺母鎖緊,并用兩端的螺栓緊固,實現了本裝置的高度調整。
本實用新型的目的是提供一種可在深壓紋液壓機的兩模具之間安裝進行限位,使得模具刃口順利切斷PVC皮革,又不致于過切損壞模具刃口,確保兩模具之間的相對位置,從而在設備投資上降低成本的深壓紋液壓機的一種可調等高塊。為實現上述目的,本實用新型所采用的技術方案為;一種深壓紋液壓機的可調等高塊,其特點在于:主要是由下鍥塊和上鍥塊組成,下鍥塊的鍥面和上鍥塊的鍥面互補首尾相連,且上鍥塊的下端面中部和下鍥塊的上端面中部通過滑槽相連接,下鍥塊的左端面安裝帶有螺母的螺桿與上鍥塊左端面螺紋孔連接,上鍥塊右端面安裝螺栓并頂住下鍥塊右端面,同時上鍥塊的右端面安裝帶有螺母的螺桿與下鍥塊右端面螺紋孔連接,下鍥塊左端面安裝螺栓并頂住上鍥塊右端面,通過調整下鍥塊的左端面安裝帶有螺母的螺桿,以及上鍥塊的右端面安裝帶有螺母的螺桿,可使上鍥塊的下斷面中部和下鍥塊的上斷面中部通過滑槽相對滑動,從而調節了調整塊的高度,最后用本裝置的兩端帶有螺母的螺桿上的螺母鎖緊,并用兩端的螺栓緊固,實現了本裝置的高度調整。本實用新型的優點:在深壓紋液壓機的兩模具之間安裝多個本裝置進行限位和高度調整,使得模具刃口順利切斷PVC皮革,又不致于過切損壞模具刃口,確保兩模具之間的相對位置,從而在設備投資上降低了成本。

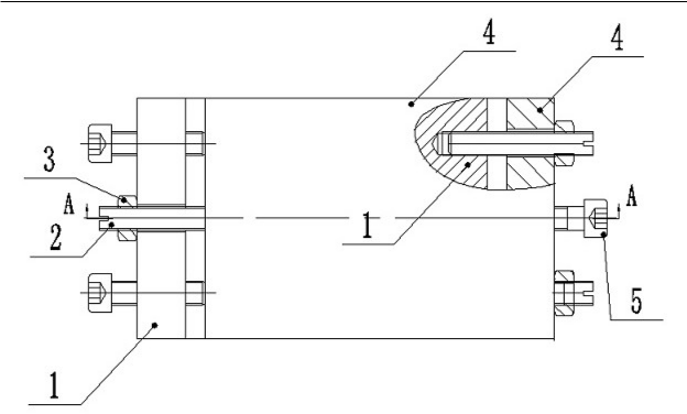
圖1為本實用新型的主視圖半剖結構示意圖

圖2為本實用新型的主視圖半剖A?A截面結構示意圖
一種深壓紋液壓機的可調等高塊,如圖1?2所示,主要是由下鍥塊1和上鍥塊4組成,下鍥塊1的鍥面和上鍥塊4的鍥面互補首尾相連,且上鍥塊4的下端面中部和下鍥塊1的上端面中部通過滑槽相連接,下鍥塊1的左端面安裝帶有螺母的螺桿2與上鍥塊4左端面螺紋孔連接,上鍥塊4右端面安裝螺栓5并頂住下鍥塊1右端面,同時上鍥塊1的右端面安裝帶有螺母的螺桿2與下鍥塊4右端面螺紋孔連接,下鍥塊4左端面安裝螺栓5并頂住上鍥塊1右端面,通過調整下鍥塊1的左端面安裝帶有螺母的螺桿2,以及上鍥塊1的右端面安裝帶有螺母的螺桿2,可使上鍥塊4的下斷面中部和下鍥塊1的上斷面中部通過滑槽相對滑動,從而調節了調整塊的高度,最后用本裝置的兩端帶有螺母的螺桿2上的螺母鎖緊,并用兩端的螺栓5緊固,實現了本裝置的高度調整。
本實用新型的有益效果:在深壓紋液壓機的兩模具之間安裝多個本裝置進行限位和高度調整,使得模具刃口順利切斷PVC皮革,又不致于過切損壞模具刃口,確保兩模具之間的相對位置,從而在設備投資上降低了成本。
上面所述的實施例僅僅是對本實用新型的優選實施方式進行描述,并非對本實用新型的構思和保護范圍進行限定,在不脫離本實用新型設計構思的前提下,本領域中普通工程技術人員對本實用新型的技術方案作出的各種變型和改進,均應落入本實用新型的保護范圍。







